Контакты
Удиви меня
Ттх парашютов
УТВЕРЖДЕН АЛЗ.812.106 ТО-ЛУ ИЗДЕЛИЕ 1ПН58 ТЕХНИЧЕСКОЕ ОПИСАНИЕ И ИНСТРУКЦИЯ ПО ЭКСПЛУАТАЦИИ АЛЗ.812.106 ТО
Часть I ТЕХНИЧЕСКОЕ ОПИСАНИЕ 1. ВВЕДЕНИЕ Техническое описание и инструкция по эксплуатации пред- назначены для изучения устройства и правил эксплуатации модернизированного унифицированного ночного прицела НСПУМ для стрелкового оружия и ручных противотанковых гранатометов (индекс 1ПН58), в дальнейшем по тексту сокращенно именуется «прицел». При изучении прицела необходимо дополнительно пользо- ваться следующими документами: «Наставление по стрелко- вому делу» (соответственно на каждый вид оружия), «Руч- ной противотанковый гранатомет РПГ-7В. Руководство служ- бы», «Инструкция по эксплуатации ФЮЗ.585.452 И на аккуму- лятор Д-0,55С ГОСТ 11258—79», «Инструкция по эксплуата- ции на секцию 5РЦ83Х ФШО.351.929 ТУ», «Инструкция по использованию группового комплекта ЗИП АЛЗ.812.106 ТО, приложение 3». 2. НАЗНАЧЕНИЕ Прицел (индекс 1ПН58) предназначен для наблюдения за полем боя и прицеливания при стрельбе из автоматов АКМН2 (АКМСН2), АК74Н2 (АКС74Н2), пулемета ПКМН2 (ПКААСН2), ручных пулеметов РПКН2 (РПКСН2), РПК74Н2 (РПКС74Н2), гранатомета РПГ-7Н2 (РПГ-7ДН2) и снайперской винтовки СВДН2. Прицел эксплуатируется при температуре окружающей среды от 50 °C до минус 50 °C и относительной влажности воздуха до 100% при температуре 35°C. 3
3. ТЕХНИЧЕСКИЕ ДАННЫЕ Основные характеристики указаны в табл. 1. Таблица 1 Наименование характеристик Номиналь- ная вели- чина ^Примечание 1. Дальность опознавания при нормированных условиях наблюдения*, м: танка бортом 400 ростовой фигуры солдата 300 2. Видимое увеличение, крат 3,5 3. Угловое поле оптической системы в простран- стве предметов: в горизонтальной плоскости в вертикальной плоскости 5° 4° 4. Удаление выходного зрачка, мм 50 5. Диаметр выходного зрачка, мм 6. Диапазон выверки линии прицеливания: по выооте по направлению 5 ±0-08 ±0-08 7. Напряжение питания прицела, В 8. Ток, потребляемый прицелом в нормальных климатических условиях, мЛ 9. Габариты прицела, мм: 6,25 7 длина высота ширина 10. Габариты укладочного ящика, мм: длина высота ширина 11. Масса прицела, кг: 458 186 99 500 215 165 без диаф- рагмы в боевом положении в походном положении в укладочном ящике с одиночным ЗИП 2 3,3 7,3 без диаф- рагмы * Нормированными считаются условия; уровень освещенности— (3—5) . 10-3 лк; фон — зеленая трава; прозрачность атмосферы та = 0,85. 4
4. СОСТАВ ПРИЦЕЛА Состав прицела указан в табл. 2. Таблица 2 Обозначение Наименование Колич. Примечание АЛЗ.812.106 Изделие 1ПН58 1 Запасные части АЛ5.142.396 Светодиод в стакане 1 АЛ5.529.011 Батарея аккумуляторная * 2 АЛ5.883.030 Осушитель в стакане 1 Сменные части АЛ6.086.005 Контейнер с секцией 1 АЛ6.548.035 Наглазник 1 АЛ7.025.078 Шкала *’ 1 СВД -01 Шкала *’ 1 АК74 -02 Шкала *’ 1 ПК -03 Шкала *’ 1 РПК -04 Шкала *’ 1 АКМ -05 Шкала *’ 1 РПГ-7 -06 Шкала *’ 1 РПК-74 Инструмент АЛ8.896.009 Ключ 1 Принадлежности АЛ 4.165.005 Сумка 1 АЛ6.274.029 Диафрагма 1 АЛ6.834.042 Ремень 2 АЛ8.890.001-01 Салфетка № Тара АЛ4.103.034 Ящик укладочный 1 АЛ6.875.042 Футляр 1 * Одна из батарей установлена в прицеле. *’ Одна из шкал установлена на прицеле, остальные — в футляре АЛ6.875.042. 5
5. УСТРОЙСТВО И РАБОТА ПРИЦЕЛА 5.1. Функциональная схема Прицел представляет собой электронно-оптический при- бор, работающий в ночное время. Работа в ночных условиях обеспечивается электронно-оп- тическим преобразователем (ЭОП), усиливающим яркость наблюдаемых объектов. Изображение цели малой яркости проектируется объективом 1 (рис. 2) на фотокатод ЭОП Л1, расположенный в фокальной плоскости объектива. Усиленное по яркости изображение рассматривается на экране ЭОП че- рез окуляр 2. Сетка 3 с прицельными знаками проектируется на фотокатод ЭОП через объектив и призму и подсвечивается светодиодом Д1. На рис. 5 (с угловыми размерами в тысячных) изображен вид поля зрения прицела. На сетке нанесены прицельные знаки, верхний ряд кото- рых служит для прицеливания при стрельбе из гранатомета РПГ-7Н2 (РПГ-7ДН2) до 300 м и при стрельбе из остальных видов оружия на все дальности согласно шкалам углов прице- ливания. Штрихи, обозначенные цифрой 4, служат для прице- ливания при стрельбе из гранатомета на дальность 400 м, а нижний штрих — на 500 м. При стрельбе гранатой ПГ-7Л верхний ряд прицельных знаков служит для прицеливания на дальность 150 м, штри- хи, обозначенные цифрой 2Л,— для прицеливания на 200 м и нижний штрих — на 300 м. Для удобства эксплуатации в прицеле имеется автомати- ческая регулировка яркости сетки (АРЯС, рис. 2), обеспечи- ваемая фоторезистором R2, расположенным перед экраном ЭОП, сигнал с которого подается на АРЯС, что позволяет сохранять необходимую яркость прицельной сетки во всем диапазоне освещенности. Помимо этого, в прицеле имеется ручная регулировка яркости сетки, осуществляемая потенцио- метром R1, кинематически связанным с маховичком ЯР- КОСТЬ СЕТКИ ВЫКЛ. При включении маховичка ЯРКОСТЬ СЕТКИ ВЫКЛ, механически связанного с микровыключателем В1, на схему подается напряжение с источника питания величиной 6,25 В. Стабилизированный преобразователь напряжения (СПИ) вырабатывает пакеты импульсов переменного напряжения величиной 1250 В, длительностью около 1,5 мс с длительно- стью импульса в пакете 0,4 мс и частотой повторения пакетов 6
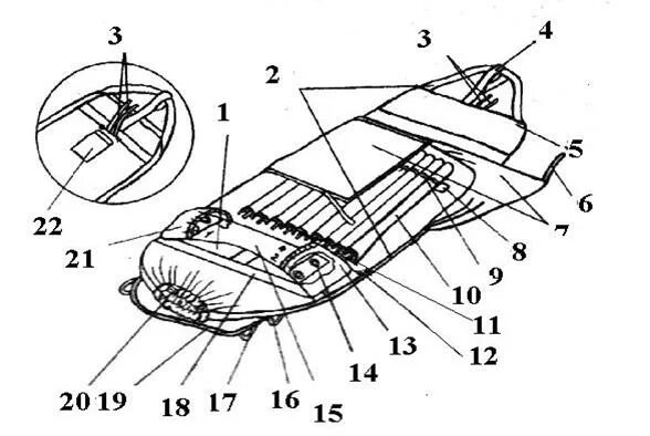
30—40 Гц. Это напряжение подается на вход высоковольтного умножителя напряжения (ВУН), а с выхода ВУН снимается постоянное напряжение, питающее ЭОП (Л1) и схемы авто- матической регулировки яркости экрана (АРЯЭ) и зашиты от световых помех. Работа АРЯЭ сводится к следующему. С увеличением освещенности на местности возрастает фо- тоток через резистор В15, что приводит к увеличению падения напряжения на нем и ограничению роста яркости экрана ЭОП. При появлении в поле зрения прицела световых помех в виде пламени выстрелов артиллерийских систем и разрывов их снарядов, а также в виде засветки белого света прожекто- ром резко возрастает фототок. Это приводит к увеличению падения напряжения на резисторах R14, R13, R12 и подаче расфокусирующих напряжений на соответствующие электро- ды ЭОП. Экран его гаснет, т. е. происходит «сворачивание» изображения, благодаря чему достигается устойчивость экра- на ЭОП к интенсивным кратковременным и длительным зас- веткам. После прекращения действия световых помех расфокуси- рующие напряжения снимаются, а работа прицела возобнов- ляется. Прицел остается работоспособным при изменении напря- жения на источнике питания от 4,5 до 7,5 В. 5.2. Устройство прицела Конструктивно прицел состоит из следующих основных уз- лов и механизмов: корпуса 3 с линзовым объективом (рис. 3), механизма выверки 19, блока регулировки 4, зажима 15 и ИС' точника питания 6. Прицел имеет следующие органы управления: маховичок 16 ЯРКОСТЬ СЕТКИ ВЫКЛ регулировки яркости сетки и включения питания прицела, направляющую 1 для произ- водства выверки по направлению и маховичок выверки по вы- соте 17. Основой прицела является металлический корпус 3 (рис. 3), в котором крепятся линзы объектива 1 (рис. 2) и ЭОП. На корпусе также закреплены механизм выверок 19 (рис. 3), блок регулировки 4 и крышка 5, закрывающая источ- ник питания 6, который установлен между пластинчатыми контактами в корпусе 3. Конструктивно исключена возмож- ность установки источника питания обратной полярностью. Крышка 5 закрывается пластинчатой пружиной. 7
В окулярной части закреплены линзы окуляра 2 (рис. 2), установлен осушитель 9 (рис. 3), имеется винт осушки 7 и закреплен наглазник 10. Осушитель 9 предназначен для осушки воздуха внутри прицела во время эксплуатации. Ненасыщенный силикагель осушителя имеет синеватую окраску. При полном насыщении влагой силикагель приобретает бледно-розовый или грязно- белый цвет. Винт осушки 7 предназначен для продувки внутренней по- лости прицела сухим азотом или воздухом и представляет со- бой винт с отверстием, закрытый крышкой 8 с резиновой про- кладкой. Азот или воздух при продувке выходит через отвер- стие, которое закрывается пробкой с резиновой прокладкой и шайбой, находящейся в объективной части прицела. Наглазник 10 служит для исключения попадания в глаз света от посторонних источников и фиксации глаза относи- тельно окуляра прицела. Механизм выверки 19 служит для проведения выверки прицела по направлению и высоте, а также для введения углов прицеливания. При повороте направляющей 1 осуществляется выверка по направлению. Цена деления шкалы выверки по направле- нию 0-00,5. При повороте маховичка 17 ВВЕРХ СТП ВНИЗ в прицел вводятся углы прицеливания, а при отпущенных на один-два оборота винтах 18 производится выверка прицела по высоте.. Цена деления шкалы выверки по высоте 0-00,5. Шкала 12 является шкалой углов прицеливания. Вид оружия награвирован непосредственно на шкале. Блок регулировки 4 предназначен для преобразования напряжения источника питания постоянного тока величи- ной 6,25 В в переменное стабилизированное напряжение ве- личиной 1250=1= 100 В, а также для установления оптимальной первоначальной яркости сетки и для автоматического регули- рования яркости сетки при изменении внешней освещенности. Кроме того, он служит для включения и выключения прицела. Необходимая яркость подсветки сетки устанавливается поворотом маховичка 16 ЯРКОСТЬ СЕТКИ ВЫКЛ по часо- вой стрелке. Зажим 15 предназначен для установки прицела на оружии. Крепление прицела на оружии осуществляется поворотом ручки И вперед до полного ее фиксирования выступом за кронштейн прицела. 8
Источник питания 6 предназначен для питания прицела при эксплуатации. Источником питания является секция 5РЦ83Х, закреп- ленная в контейнере 9 (рис. 1), или аккумуляторная батарея 11, состоящая из пяти аккумуляторов Д-0,55С соединенных последовательно. 6. СМЕННЫЕ И ЗАПАСНЫЕ ЧАСТИ Аккумуляторная батарея 11 (рис. 1) предназначена для питания прицела. Наглазник 7 предназначен для работы с прицелом в сле- дующих случаях: при работе ночью в условиях, требующих высокой степени маскировки, так как самозакрывающиеся заслонки наглазни- ка исключают возможность появления светового пятна на ли- це при отведении глаза от выходного зрачка; при выверке прицела днем в солнечную погоду, если при работе прицела с наглазником без заслонок не обеспечивается видимость выверочной мишени из-за засветки фоторезистора прицела со стороны окуляра. Шкалы 12 являются шкалами углов прицеливания и уста- навливаются на механизме выверки. Маркировка на шкале должна соответствовать виду оружия, на котором установлен данный прицел. Осушитель 8 в стакане предназначен для замены установ- ленного в прицеле насыщенного влагой осушителя 9 (рис. 3). Контейнер 9 (рис. 1) предназначен для установки в него секции 4. Контейнер 9 с установленной в него секцией 4 пред- назначен для питания прицела. Светодиод 15 в стакане предназначен для замены вышед- шего из строя светодиода, установленного в прицеле. 7. ИНСТРУМЕНТ И ПРИНАДЛЕЖНОСТИ Ключ 5 (рис. 1) предназначен для вывинчивания винтов 18 (рис. 3) и для поворота направляющей 1 при производстве выверок, смены осушителей 9, вывинчивания пробки при про- дувке прицела сухим азотом или воздухом, для завинчивания кольца 5 в корпус 1 (рис. 7) и аккумуляторную батарею И (рис. 1). Диафрагма 14 предназначена для защиты прицела от све- товых перегрузок и при работе прицела днем и в сумерках. На торце диафрагмы имеются надписи ОТКР, ЗАКР, которые соответствуют полностью открытой или закрытой диафрагме. Поворотом диафрагмы регулируется световое отверстие. 9
Ремни 10 (рис. 1) предназначены для крепления сумки 13 с прицелом 1 к подвесной системе десантника и продеваются через тесемные шлевки, расположенные на задней стенке сум- ки, и крепежные кольца запасного парашюта десантника. Карабин ремня застегивается через собственные кольца. Футляр 3 предназначен для хранения сменных шакл 12. Салфетка 6 предназначена для чистки поверхностей опти- ческих деталей. Сумка 13 предназначена для переноски прицела в поход- ном положении. В нее укладываются ключ 5, салфетка 6, ремни 10 и светодиод 15 в стакане. 8. РАЗМЕЩЕНИЕ И МОНТАЖ Прицел размещается на видах оружия, оговоренных в раз- деле 2. Шкала 12 (рис. 3) должна соответствовать виду ору- жия, на котором установлен прицел. Для размещения при- цела на оружии имеется специальный посадочный кронштейн. При монтаже установить прицел посадочным кронштейном на посадочное место оружия и, продвинув прицел вперед до упо- ра, закрепить его, для чего отжать ручку 11, преодолевая усилие пружинной защелки, и повернуть ее вперед до полного фиксирования выступом за кронштейн прицела. При снятии прицела необходимо так же предварительно отжать ручку 11 и повернуть ее назад. Прицел должен прочно удерживаться па кронштейне оружия. Для подгонки зажима прицела к оружию необходимо снять защелку 13 и переставить ручку 11 на такое количество зубцов, которое обеспечит прочное крепление прицела на ору- жии, поставить защелку на место. 9. МАРКИРОВАНИЕ На крышке блока регулировки 4 (рис. 3) прицела нанесе- на маркировка прицела, которая включает в себя марку пред- приятия-изготовителя. индекс прицела—1ПН58. его поряд- ковый номер. На крышке укладочного ящика 2 (рис. 4) нане- сена маркировка, содержащая индекс прицела— 1ПН58 и его порядковый помер. 10. ТАРА И УПАКОВКА При транспортировании прицел с диафрагмой размещает- ся в укладочном ящике 2 (рис. 4) и закрепляется с помощью накидных планок. В этот же ящик укладываются сменные ча- сти. одиночный комплект ЗИП, описание, паспорт и опись вложений. 10
Часть II ИНСТРУКЦИЯ ПО ЭКСПЛУАТАЦИИ 1. ОБЩИЕ УКАЗАНИЯ Изучите конструкцию прицела, его расположение и креп- ление в укладочном ящике и на оружии. Следите за правильной укладкой прицела в укладочном ящике и креплением его на оружии. Подгонку зажима прице- ла к оружию согласно разделу 8 части 1 производите через каждые 1000 выстрелов. Прочность крепления прицела на кронштейне оружия про- веряйте перед каждой выверкой. Отводите прицел в сторону при появлении в поле зрения ярко светящихся источников света и выключайте его при их длительном воздействии поворотом маховичка ЯРКОСТЬ СЕТКИ ВЫКЛ до совмещения стрелки с надписью ВЫКЛ. Выключайте прицел по окончании работы. После выклю- чения прицела возможно остаточное свечение экрана. Шкала 12 (рис. 3) должна соответствовать виду оружия. Не применяйте излишних усилий при работе маховичками выверки по направлению ЛЕВ СТП ПРАВ и высоте ВВЕРХ СТП ВНИЗ, маховичком 16 ЯРКОСТЬ СЕТКИ ВЫКЛ регу- лировки яркости сетки. Пыль и грязь с оптических деталей удаляйте только чистой салфеткой. Одну из аккумуляторных батарей 11 (рис. 1) необходимо зарядить по указанию командира не ранее чем за месяц до боевого или учебного использования прицела и постоянно поддерживать ее в заряженном состоянии. Другую аккумуля- торную батарею заряжать по указанию командира. И
2. УКАЗАНИЯ МЕР БЕЗОПАСНОСТИ Для обеспечения мер безопасности и бесперебойной рабо- ты прицела в процессе эксплуатации ЗАПРЕЩАЕТСЯ: разбирать прицел; включать прицел днем с окрытой диафрагмой 14 объекти- ва (рис. 3); ПОМНИТЕ—ДНЕВНОЙ СВЕТ ВЫВЕДЕТ П1РИЦЕЛ ИЗ СТРОЯ’; нарушать режим заряда аккумуляторной батареи, указан- ный в инструкции, так как это может привести к вздутию или разрыву аккумулятора Д-0,55С. Не допускается: — короткое замыкание секции 4 (рис. 1) и аккумулятор- ной батареи 11; — выбрасывать использованные или бракованные сек- ции 4 в тару общего пользования; их необходимо собирать и отправлять на утилизацию ртути; сильная деформация наглазника 10 (рис. 3) при наблю- дении в прицел; — включать подсветку сетки на максимальную яркость. 3. ПОДГОТОВКА К РАБОТЕ 3.1. Приведение прицела к нормальному бою и выверка прицела на автоматах, пулеметах и снайперской винтовке Подготовка прицела к стрельбе производится с целью обеспечения его безотказной работы во время выполнения поставленной задачи. Для подготовки прицела к стрельбе необходимо привести оружие с прицелом к нормальному бою. Приведение оружия с прицелом к нормальному бою про- изводится после приведения к нормальному бою оружия с механическим прицелом согласно наставлению по стрелково- му делу соответственно на каждый вид оружия. Оружие приводится к нормальному бою без присоединения прицела. Для приведения к нормальному бою оржия с прицелом днем или в сумерки необходимо: проверить соответствие маркировки шкалы углов прице- ливания, установленной на прицеле, оружию: на автоматах АКМН2 (АКМСН2) должна быть установлена шкала, имею- щая маркировку АКМ, на автомате АК.74Н2 (АКС74Н2) — 12
маркировку АК74; на пулеметах РПК74Н2 (РПКС74Н2) — маркировку РПК74; на пулеметах РПКН2 (РГ1КСН2) —мар- кировку РГ1К; на пулеметах ПКМН2 (ПКМСН2) — марки- ровку ПК, на снайперской винтовке СВДН2 — маркировку СВД; установить шкалу согласно подразделу 9.5 настоящей ин- струкции, если есть необходимость; присоединить прицел к оружию; подогнать зажим прицела к посадочному месту оружия согласно разделу 8 технического описания на прицел; установить оружие на прицельном станке; установить прицельную планку оружия на деление 3 у ав- томата АКМН2 (АКМСН2) и пулемета РПКН2 (РПКСН2) и на деление 4 у автомата АК74Н2 (АКС74Н2), пулеметов ПКМН2 (ПКМСН2), РПК74Н2 (РПКС74Н2) и снайперской винтовки СВДН2; навести оружие по механическому прицелу в точку прице- ливания на расстоянии 100 м (по той же мишени, что и для приведения оружия к нормальному бою с механическим при- целом) ; установить на прицеле шкалу 12 (рис. 3) на деление 3 для автомата АКМН2 (АКМСН2) и пулемета РПКН2 (РПКСН2) и деление 4 для автомата АК74Н2 (АКС74Н2), пулеметов ПКМН2 (ПКМСН2), РПК74Н2 (РПКС74Н2) и снайперской винтовки СВДН2 поворотом маховичка 17 по часовой стрелке (от себя) до упора; убедиться, что диафрагма 14 прицела закрыта; включить прицел и, вращая маховичок 16 и диафрагму 14, подобрать оптимальную яркость сетки и наилучшую види- мость мишени; проверить совпадение вершины прицельного угольника сетки с той же точкой прицеливания, что и по механическому прицелу; если точки прицеливания не совпадают, то ключом 5 (рис. 1) отвинтить на 1—2 оборота винты 18 (рис. 3) и пово- ротом маховичка 17 и направляющей 1 совместить вершину прицельного угольника сетки с точкой прицеливания, при этом шкалу 12 придерживать рукой, не давая ей перемещаться, направляющую 1 вращать ключом 5 (рис. 1); ввинтить до отказа винты 18 (рис. 3) ключом 5 (рис. 1); снять оружие с прицелом с прицельного станка; 13
произвести четыре одиночных выстрела, тщательно и од- нообразно прицеливаясь в точку прицеливания (пользуясь прицелом); определить кучность боя м положение средней точки попа- дания. Кучность боя признается нормальной, если все четыре про- боины или трл (при одной оторвавшейся) вмещаются в круг диаметром 15 см для автоматов АКМН2 (АКМСН2), АК74Н2 (АКС74Н2), пулеметов РПКН2 (РПКСН2), ПКМН2 (ПКМСН2), РПК74Н2 (РПКС74Н2) и в круг диаметром 8 см для винтовки СВДН2. Если кучность боя не удовлетворяет этим требованиям, то стрельба повторяется. При повторном неудовлетворительном результате стрельбы отправить оружие и прицел в ремонтную мастерскую для устранения причин разброса пуль. При нормальной кучности боя командир определяет сред- нюю точку попадания и ее положение относительно контроль- ной. Контрольная точка при стрельбе с прицелом у пулемета РПК74Н2 (РПКС74Н2) находится на расстоянии 16 см над точкой прицеливания, у автомата АК74Н2 (АКС74Н2) — на расстоянии 20 см, у автомата АКМН2 (АКМСН2) и пулемета РПКН2 (РПКСН2)—на расстоянии 21 см, у пулемета ПКМН2 (ПКМСН2) — на расстоянии 22 см, у снайперской винтовки СВДН2 — на расстоянии 23 см над точкой прицели- вания. При нормальном бое средняя точка попадания должна совпадать с контрольной точкой или отклоняться от нее в лю- бом направлении не более чем на 5 см для пулеметов РПК74Н2 (РПКС74Н2), РПКН2 (РПКСН2), ПКМН2 (ПКМСН2), автоматов АКМН2 (АКМСН2), АК74Н2 (АКС74Н2) и не более чем на 3 см для снайперской винтовки. Если все пробоины не вмещаются в круг диаметром 8 см для снайперской винтовки СВДН2 и в круг диаметром 15 см для остальных видов оружия, то среднюю точку попадания разрешается определять по трем более кучно расположенным пробоинам при условии, что четвертая пробоина удалена от средней точки попадания трех пробоин более чем на 2,5 ра- диуса круга, вмещающего эти трл пробоины. Если средняя точка попадания отклонилась в какую-либо сторону более чем на 3 см для снайперской винтовки и более чем на 5 см для остальных видов оружия, необходимо произ- водить выверку в следующем порядке: 14
при отклонении средней точки попадания вниз или вверх отвинтить на один-два оборота винты 18 (рис. 3) и повернуть маховичок 17 по стрелке ВВЕРХ СТП, если средняя точка по- падания ниже контрольной и ВНИЗ СТП, если средняя точка попадания выше контрольной. Поворот маховичка 17 на одно деление соответствует перемещению средней точки попадания на 5 см при стрельбе на 100 м; при отклонении средней точки попадания вправо или вле- во повернуть направляющую 1 ВПРАВО СТП, если средняя точка попадания левее контрольной, и ВЛЕВО СТП, если средняя точка попадания правее контрольной. Поворот направляющей 1 на одно деление соответствует перемещению средней точки попадания на 5 см при стрельбе на 100 м; следить, чтобы при повороте маховичка 17 шкала 12 углов прицеливания не поворачивалась; ввинтить ДО' отказа винты 18; проверить правильность поворота маховичка 17 и направ- ляющей 1 повторной стрельбой. Выверка прицела ночью производится таким же образом, как и днем. В случае необходимости производится подсветка мишени, мушки и целика какими-либо источниками света при наведении оружия на мишень по механическому прицелу, при этом прицел должен быть выключен. 3.2. Выверка прицела на гранатомете Для выверки гранатомета с прицелом необходимо: нанести на щит для выверки механического и оптического прицелов дополнительный круг диаметром 80 мм с перекрес- тием— точка наводки прицела (ТНН); взаимное расположе- ние ТНН и точки наводки гранатомета (ТНГ) указано на рис. 6; установить щит с мишенью вертикально по отвесу впереди гранатомета на расстоянии 20 м от прицельной планки; проверить прицельные приспособления (оптический и ме- ханический прицелы), как указано в «Руководстве службы по ручному противотанковому гранатомету РПГ-7В». Проверить соответствие маркировки шкалы температурных поправок, установленной на прицеле (на ручном противотанковом гра- натомете РПГ-7Н2 и РПГ-7ДН2 должен быть установлен при- цел со шкалой температурных поправок, имеющий маркиров- ку РПГ-7); 15
установить гранатомет на станок для проверки прицельных приспособлений гранатомета; навести выверенный оптический прицел на перекрестие для наводки оптического прицела; снять оптический прицел, не сбивая наводки гранатомета; установить прицел на гранатомет и закрепить, не сбивая наводки гранатомета; установить шкалу 12 (рис. 3) на температурную поправ- ку « + »; включить прицел, убедившись, что диафрагма 14 закрыта; наблюдая в прицел, поворотом маховичка 16 и диафрагмы 14 подобрать оптимальную яркость сетки и видимость выве- рочной мишени; проверить совпадение вершины прицельного угольника сетки с центром ТНН на выверочной мишени; если вершина прицельного угольника сетки не совпадает с центром перекрестия, то ключом 5 (рис. 1) отвинтить на один- два оборота винты 18 (рис. 3) и вращением маховичка 17 и направляющей 1 совместить вершину прицельного угольника сетки с центром ТНН. При этом шкалу 12 придерживать ру- кой, не давая ей перемещаться; ввинтить до отказа винты 18; проверить правильность выверки; выключить прицел. Для выверки прицела по выверочной мишени (щиту) в су- мерках и ночью выверочная мишень подсвечивается. Если при выверке изображение выверочной мишени при полностью открытой диафрагме становится не резким, то усильте под- светку мишени, при этом отверстие диафрагмы необходимо уменьшить. При выверке прицела по удаленной точке *: установить гранатомет на станок для проверки прицель- ных приспособлений гранатомета; установить выверочный оптический прицел на гранато- мет и выбрать удаленную точку (вершину столба, угол зда- ния и т. п.) на расстоянии не менее 300 м от гранатомета; установить маховичок температурных поправок оптическо- го прицела на знак « + »; * При выверке по удаленной точке возможная ошибка составляет 0-00.5...0-01, поэтому выверку по удаленной точке производить только £» случае невозможности проведения выверки по щиту. 16
наблюдая в оптический прицел, установить гранатомет так, чтобы перекрестие дистанционной шкалы оптического прице- ла с оцифровкой 3 находилось на краю удаленной точки; снять оптический прицел с гранатомета, не сбивая поло- жение гранатомета; установить прицел на гранатомет (при этом установить маховичок 17 со шкалой 12 на знак « + »); включить прицел; наблюдая в прицел, убедиться, что прицельный угольник совпадает с выбранной удаленной точкой по высоте и направ- лению. Если прицельный угольник отклонился в какую-либо сто- рону, то необходимо совместить его с выбранной точкой точно так же, как при выверке по щиту. После окончания выверки необходимо: выключить прицел; установить маховичок 17, шкалу 12 в положение « + » при температуре окружающего воздуха выше О °C, а при темпе- ратуре ниже О °C — в положение «—». 3.3. Приведение прицела в походное положение Приведение прицела из положения для транспортировки в походное положение производится в следующем порядке; открыть крышку укладочного ящика 2 (рис. 4); вынуть прицел 1 с диафрагмой 14 (рис. 1); вынуть сумку с принадлежностями; вынуть из ящика укладочного аккумуляторную батарею или контейнер, установив в него секцию 4, как указано в под- разделе 9.2 настоящей инструкции; вынуть из прицела аккумуляторную батарею; установить в прицел контейнер 9 (рис. 1) с секцией 4 или заряженную аккумуляторную батарею; убедиться перед установкой источника питания в прицел, что диафрагма находится в положении ЗАКР, маховичок 16 (рис. 3) ЯРКОСТЬ СЕТКИ ВЫКЛ — в положении ВЫКЛ; заменить при необходимости наглазник 10 (рис. 3) наглаз- ником 7 (рис. 1), как указано в подразделе 9.4 настоящей инструкции; надеть сумку па левое плечо; уложить прицел 1 с диафрагмой 14 в сумку. 17
3.4. Приведение прицела в боевое положение Для приведения прицела из походного положения в боевое необходимо: выбрать место для стрельбы и занять его; положить автомат или винтовку на землю правой стороной вниз, ручной и станковый пулеметы или гранатомет устано- вить на сошку так, чтобы в канал ствола не попал песок, снег и т. п.; вынуть прицел из сумки, для чего сдвинуть сумку вперед, открыть клапан сумки, придерживая ее правой рукой, левой рукой вынуть прицел, удерживая его за корпус; присоединить прицел к оружию, для чего правой рукой взягь оружие за цевье, совместить паз зажима прицела с по- садочным местом кронштейна оружия, продвинуть ^трицел вперед до упора и закрепить его, повернув ручку зажима впе- ред до полной ее фиксации выступом за кронштейн прицела; при необходимости снять диафрагму, уложить ее в сумку и включить прицел. 4. ПОРЯДОК РАБОТЫ 4.1. Общие указания Для облегчения наблюдения за полем боя и ведения стрельбы с помощью прицела необходимо по возможности тщательно изучить местность днем. Успех наблюдения за полем боя и ведения стрельбы с по- мощью прицела обеспечивается опытом в наблюдении, так как контраст изображения и окраска местности и целей при наблюдении в прицел значительно отличаются от их контра- ста и окраски при наблюдении невооруженным глазом днем. Перед началом работы необходимо: включить прицел вращением маховичка 16 ЯРКОСТЬ СЕТКИ ВЫКЛ (рис. 3) по часовой стрелке; наблюдая в прицел и поворачивая маховичок 16 ЯР- КОСТЬ СЕТКИ ВЬ1КЛ, добиться, чтобы изображение сетки было видно с достаточной яркостью. Наводка на цель осуществляется перемещением оружия с прицелом по высоте и направлению. При наводке необходимо совместить с точкой прицелива- ния вершину прицельного угольника сетки прицела. При
стрельбе на расстояние до 300 м из автомата АКМН2 (АКМ.СН2) и пулемета РПКН2 (РПКСН2) огонь следует вести с установкой шкалы 12 на деление 3, при стрельбе на расстояние до 400 м -из автомата АК74Н2 (АКС74Н2), вин- товки СВДН2 и пулеметов Г1КМН2 (ПКМСН2), РПК74Н2 (РПКС74Н2) шкалу 12 установить на деление 4, прицели- ваясь в нижний край цели или в середину, если цель высокая (бегущие фигуры и т. п.). При стрельбе на расстояние, пре- вышающее 300 м, из автомата АКМ.Н2 (ЛКМ.СН2), пулемета РПКН2 (РПКСН2) и 400 м из автомата ЛК74Н2 (ЛКС74Н2), винтовки СВДН2 и пулеметов ПКМН2 (ПКЛ4СН2), РПК74Н2 (РПКС74Н2) шкалу 12 установить соответственно расстоянию до цели, округленному до целых сотен метров. За точку при- целивания, как правило, принимается середина цели. При стрельбе из гранатомета РПГ-7Н2 (РПГ-7ДН2) уста- новить на прицеле маховичком 17 (рис. 3) шкалу 12 на знак « + », если температура воздуха выше 0 °C, или «—», если тем- пература воздуха ниже 0°С. При наводке необходимо совме- стить с точкой прицеливания прицельный знак сетки прицела, соответствующий требуемой дальности стрельбы и выбранно- му упреждению. Прием и правила стрельбы из гранатомета изложены в руководстве службы «Ручной противотанковый гранатомет РПГ-7В». При ухудшении видимости разряженный источник пита- ния заменить заряженным источником питания, имеющимся в одиночном комплекте ЗИП. Необходимо различать стрельбу по неподвижным и появ- ляющимся целям, по движущимся целям и по инфракрасным прожекторам. При ведении огня по появляющимся целям следует учиты- вать, что после выстрела видимость цели может ухудшиться и только через некоторое время восстановиться. Чтобы не потерять цель, оружие с прицелом после выстре- ла нужно придерживать в приданном положении; при улуч- шении видимости внимательно осмотреть участок местности, где цель появилась. При стрельбе по движущимся (на стреляющего или от не- го) целям на расстояние до 300 м из автомата АКМН2 (АКЛ4СН2) и пулемета РПКН2 (РПКСН2) необходимо ве- сти огонь с установкой шкалы 12 прицела на деление 3, соот- ветствующее 300 м, и на расстояние до 400 м из автомата 19
АК74Н2 (АКС74Н2), винтовки СВДН2 и пулеметов ПКМН2 (ПКМСН2), РПК74Н2 (РПКС74Н2) на деление 4, соответст- вующее 400 м. На расстоянии, превышающем 300—400 м, огонь вести с установкой, соответствующей тому расстоянию, на котором цель может оказаться в момент открытия огня. Огонь по цели, движущейся под углом к плоскости стрель- бы, ведется способом сопровождения или способом выжида- ния цели (огневого нападения). При стрельбе способом сопро вождения цели, движущейся под углом 90° к плоскости стрельбы со скоростью 3 м/с на дальности 300 м, упреждение при стрельбе из автомата или пулемета равно 0-04, а при стрельбе способом сопровождения на расстоянии, превышаю- щем 300 м, — 0-06. Момент открытия огня при стрельбе по движущейся цели способом выжидания определяется не относительно точки на- водки, выбранной на местности, как при стрельбе днем, а от- носительно вертикальных штрихов сетки в поле зрения. При стрельбе по целям, движущимся с большой скоро- стью, упреждение увеличивать пропорционально' увеличению скорости. Для того, чтобы не потерять цель из поля зрения при стрельбе способом сопровождения, следует после выстре- ла (очереди) продолжать вести оружие в направлении движе- ния пели; при восстановлении видимости уточнить величину упреждения и продолжать стрельбу. При стрельбе способом выжидания после выстрела (оче- реди) переместить оружие по направлению движения цели и при подходе ее на величину выбранного упреждения произ- вести повторный выстрел (очередь). Инфракрасный прожектор в прицел виден как светло-зе- леное пятно', яркость которого зависит от удаления и мощно- сти прожектора. Кроме пятна в прицел можно видеть луч прожектора как светлую полосу па местности. Если прожектор направлен под углом, большим 60° к пло- скости наблюдения, то пятна в ночном прицеле не видно. При- мерное расположение прожектора при этом обнаруживается по более яркому началу луча на местности. При большой яркости пятна, создаваемого прожектором, необходимо надеть на объектив диафрагму. Дальность до инфракрасного прожектора можно опреде- лить по местным предметам, попавшим в луч прожектора. 20
Определение дальности облегчается тщательным изучени- ем местности днем. Если дальность до цели больше дальности видимости, то можно осветить местность 30-мм или 40-мм реактивным осве- тительным патроном, во время освещения определить даль- ность до цели и поразить ее. Если в процессе работы с прицелом в поле зрения появи- лись яркие источники света (осветительные ракеты, фары ав- томобилей и т. п.), то пр,ицел отвести в сторону во избежание выхода из строя ЭОП. При длительном действии ярких источников света выклю- чить прицел. После окончания стрельбы ил.и наблюдения прицел вык- лючить, повернув маховичок 16 (рис. 3) в положение ВЫКЛ. 4.2. Определение расстояний с помощью прицела Расстояние до целей определяется по ориентирам и мест- ным предметам, дальность до которых заранее известна, и по угловой величине цел>и и местных предметов. Чтобы определить расстояние по угловой величине мест- ных предметов и цели, необходимо знать высоту предмета (цели), до которого определяется расстояние. Для определения расстояния надо: определить угловую величину предмета (цели) в тысяч- ных, пользуясь угольником и штрихами сетки в поле зрения, угловые размеры которых даны на рис. 5; вычислить расстояние по формуле: В • 1000 Д У где Д — расстояние, м; В — высота предмета (цели), м; У — угловая величина предмета (цели). При практическом определении дальности с помощью при- цельных знаков и штрихов сетки руководствоваться примера- ми, приведенными на рис. 8. 21
4.3. Приведение прицела из боевого положения в походное Чтобы привести прицел из боевого положения в походное, необходимо: выключить прицел; надеть диафрагму; снять прицел с кронштейна оружия и уложить его в сумку. 4.4. Приведение прицела из походного положения в положение для транспортирования Чтобы привести прицел из походного положения в положе- ние для транспортирования, необходимо: вынуть прицел с диафрагмой из сумки; убедиться, что диафрагма находится в положении ЗАКР, маховичок 16 (рис. 3) ЯРКОСТЬ СЕТКИ ВЫКЛ — в положе- нии ВЫКЛ; уложить сумку с принадлежностями в ящик укладочный, перед этим необходимо сумку плотно и аккуратно свернуть в рулон; уложить прицел в ящик укладочный и закрепить с по- мощью накидных планок; проверить комплектность прицела согласно описи вложе- ний, закрыть крышку укладочного ящика. 5. ТЕХНИЧЕСКИЙ ОСМОТР Безотказность работы, готовность к боевому использова- нию и продолжительность службы прицела в значительной мере зависят от регулярной его проверки и ухода за ним. При эксплуатации прицела своевременно производить технический осмотр его. Технический осмотр производится при всех видах технического обслуживания с целью определе- ния технического состояния прицела, своевременного выявле- ния и устранения неисправностей. Техническое состояние при- цела характеризуется его исправностью, полной укомплекто- ванностью и готовностью к боевому использованию. При техническом осмотре производить проверки, указан- ные в табл. 1. 22
Таблица 1 Проверяемые параметры и методика проверки Технические требования Комплектность прицела Наружный осмотр прицела, запас- ных частей, принадлежностей про- изводить визуально Правильность и надежность за- крепления прицела на оружии про- верить покачиванием прицела Состояние поверхности оптических деталей проверить визуально Комплектность прицела должна со- ответствовать составу прицела, приведенному в разделе 4 ТО На наружных поверхностях не дол- жно быть трещин, вмятин, следов коррозии и других дефектов Качка прицела не допускается Состояние силикагеля осушителя проверить визуально Плотность завинчивания крышки 9 {рис. 3) проверить ключом 5 (рис. 1) Напряжение источников питания проверить вольтметром Состояние контактов в прицеле для источников питания и контакты источников питания проверить ви- зуально Работа прицела Включить прицел маховичком ЯР- КОСТЬ СЕТКИ ВЫКЛ, повернув его в направлении по часовой стрел- ке, при закрытой диафрагме 14 (рис. 3) Освещение шкалы углов прицели- вания. Вращать маховичок ЯР- КОСТЬ СЕТКИ ВЫКЛ Линзы объектива и окуляра долж- ны быть целыми. На оптических деталях не должно быть жировых пятен, грязи и других налетов Силикагель должен иметь синева- тую окраску Крышка должна быть плотно закру- чена и исключать самоотвинчивание Напряжение источников питания должно быть не меньше 5,5 В На контактах не должно быть окисления и налетов солей Работа диафрагмы 14. Проверить визуально перекрытие светового потока лепесткамв диафрагмы Должен быть отчетливо слышен равномерный звук работающего прицела. При наблюдении в окуляр поле зрения должно слегка све- титься, т. е. в нем должны быть видны отдельные светящиеся точки темнового фона ЭОП Яркость изображения шкалы углов прицеливания в поле зрения прице- ла должна изменяться. Контраст изображения прицельных знаков при наблюдении должен быть до- статочным для уверенного опозна- вания их Лепестки диафрагмы должны пере- крывать световой поток 6. ТЕХНИЧЕСКОЕ ОБСЛУЖИВАНИЕ ПРИЦЕЛА 6.1. Общие указания Для поддержания прицела в постоянной боевой готовно- сти, обеспечения безотказности его в работе, увеличения его 23
межремонтных сроков службы, а также для своевременного выявления и устранения причин, вызывающих преждевре- менный .износ и повреждение узлов «и деталей, необходимо своевременно производить технический осмотр и техническое обслуживание прицела. Система технического обслуживания прицела, находяще- гося в эксплуатации, включает в себя следующие виды: текущее обслуживание (ТеО); техническое обслуживание 1 (ТО1); техническое обслуживание 2 (ТО2). 6.2. Текущее обслуживание ТеО прицела, находящегося в эксплуатации, производит- ся стрелком, за которым закреплен прицел, под наблюдением командира взвода. ТеО проводится после использования вооружения (стрельб, боевой работы, учений), а также не реже одного раза в 2 не- дели, если вооружение не использовалось. При ТеО необходимо провести технический осмотр прице- ла, как указано в разделе 5, и в случае необходимости вы- полнить следующие работы: протереть прицел от пыли, грязи и влаги; почистить наружные поверхности металлических деталей; проверить состояние контактов прицела; почистить наружные оптические детали прицела; заменить осушитель в прицеле новым из ЗИП согласно подразделу 9.3. настоящей инструкции; произвести подзарядку аккумуляторов; проверить прочность крепления прицела на оружии и в случае необходимости провести подгонку зажима прицела согласно разделу 8 части 1; проверить согласование прицела на оружии и в случае не- обходимости произвести выверку прицела на оружии. 6.3. Техническое обслуживание 1 ТО1 прицела, находящегося в эксплуатации, производится стрелком под наблюдением командира взвода с привлечением в необходимых случаях специалистов мастерской части (сое- динения) . ТО1 прицелов, находящихся в эксплуатации, производится при поступлении прицела в часть, не реже одного раза в год, при постановке на кратковременное хранение. 24
При проведении ТО1 выполняются проверки и работы, предусмотренные для ТеО, и дополнительно производятся уда- ление налета с контактов и чистка наружных оптических по- верхностей, восстановление насыщенного влагой силикагеля и подкраска укладочного ящика. Для чистки наружных оптических поверхностей применять салфетку 6 (рис. 1), .вату хлопчатобумажную для оптической промышленности ГОСТ 10477—75, спирт этиловый ректифи- кованный технический ГОСТ 18300—72, эфир петролейный ГОСТ 11992—74 или смесь (10% спирта и 90% эфира) (см. приложение 1). Чтобы удалить жировые загрязнения с поверхности стекла, нужно протереть ее салфеткой или ватой. При сильном за- грязнении чистку производить следующим образом: намотать немного ваты на конец деревянной палочки; смочить вату в спирте, эфире или смеси, после чего уда- лить излишки жидкости легким встряхиванием; протереть стекло несколько раз смоченной ватой, не ка- саясь оправы; сменить вату и, производя кругообразные движения от центра к краю, закончить чистку. При чистке следует обращать внимание на то, чтобы раст- ворители (спирт, эфир) не попадали под оправу, так как при этом уплотнительная замазка растворяется и происходит на- рушение герметизации прицела. При постановке на кратковременное хранение для предох- ранения от коррозии наружные неокрашенные части прицела и ЗИП должны быть смазаны слоем смазки ГОИ-54п ГОСТ 3276—74. Для восстановления насыщенного влагой силикагеля необ- ходимо отвинтить крышку осушителя, высыпать силикагель в чистый металлический сосуд, который поместить на источник тепла (электроплиту, примус, угли костра и т. п.). Соприкос- новение силикагеля с пламенем недопустимо. Температура восстановления силикагеля 150—170 °C. Силикагель восста- навливается в течение 3—4 часов. 6.4. Техническое обслуживание 2 ТО2 проводится для прицелов, находящихся в эксплуата- ции, не реже одного раза в 2 года, а также при постановке прицела на длительное хранение. 25
Т02 прицелов проводится в специализированных мастер- ских с применением для ремонта группового комплекта ЗИП прицела, оборудования и инструмента, находящихся в мастер- ских. Ремонт производится в соответствии с инструкцией по ис- пользованию группового комплекта ЗИП прицела. При ТО2 необходимо провести проверки и работы, предус- мотренные для ТО1, и дополнительно проверить: предел разрешения прицела и качество изображения; диапазон выверки и линии прицеливания по высоте и на- правлению; установку окуляра относительно экрана ЭОП; комплектность ЗИП и его исправность. В случае необходимости заменить неисправные детали и узлы из числа имеющихся в групповом комплекте ЗИП; провести продувку прицела сухим азотом или воздухом. Для этого снять крышку 8 (рис. 3) с резиновой проклад- кой, отвинтить пробку, расположенную в объективной части, соединить шланг для подачи сухого азота или воздуха со шту- цером АЛ6.454.012 из комплекта группового ЗИП, навинтить штуцер вместо крышки 8 и в отверстие винта осушки через редуктор подавать из баллона воздух или азот под давлением 2 • 104 Па в течение 30' мин. После продувки завинтить пробку, на винт осушки на- винтить крышку 8 с резиновой прокладкой; произвести проверку дальности в прицел на местности и с помощью коллиматора 1Ю6, установив прицел на то же поса- дочное место коллиматора, что и изделие 1ПН34, наблюдая контрольный тест; произвести при необходимости юстировку прицела с по- мощью контрольно-юстировочных приборов мастерской; произвести замену смазки и уплотнительной замазки во всех местах, подвергаемых ремонту. ЗАПРЕЩАЕТСЯ ВСКРЫВАТЬ ПРИЦЕЛ ТОЛЬКО ДЛЯ ЗАМЕНЫ СМАЗКИ И ЗАМАЗКИ! При подготовке прицела к длительному хранению, кроме указанных работ, необходимо на неокрашенные поверхности прицелов и частей ЗИП нанести смазку пластичную ГОИ-54п ГОСТ 3276—74, а смазанные детали обернуть подпергамен- том ГОСТ 1760—68. 26
7. ХАРАКТЕРНЫЕ НЕИСПРАВНОСТИ И МЕТОДЫ ИХ УСТРАНЕНИЯ 7.1. Общие указания При обнаружении неисправностей в работе прицела или его отдельных элементов нужно в первую очередь проверить: крепление прицела на оружии; не закрыто ли отверстие в диафрагме; отсутствие на объективе и окуляре пыли, грязи, масла, инея и воды; не разряжен ли источник питания; не установлен ли маховичок 16 (рис. 3) в положение выкл. Особое внимание обратить на чистоту контактов аккуму- ляторных батарей и секций. 7.2. Перечень неисправностей и методы их устранения Перечень возможных неисправностей прицела приведен в табл. 2. Таблица 2 Неисправность Вероятная причина Методы устранения Щелчки работающего прицела слышны слабо Яркость изображения, достигая максимума, резко падает до очень низкой или изображе- ние имеет колеблю- щуюся яркость, затру- дняющую работу с прицелом Изображение местно- сти видно слабо и раз- мыто Изображение местно- сти видно слабо и раз- мыто. В поле зрения прицела наблюдаются вспышки и мигания Разрядились секции 5РЦ83Х или аккуму- ляторная батарея Световая перегрузка Пробой трансформато- ра преобразователя напряжения Отпотевание или за- грязнение наружных поверхностей окуляра, объектива Отпотевание внутрен- них поверхностей объ- ектива, окуляра или фотокатода ЭОП Заменить источник пита- ния Надеть диафрагму на объектив Отправить прицел в ре- монтную мастерскую сое- динения Протереть объектив, оку- ляр салфеткой из ЗИП Отправить прицел в ре- монтную мастерскую сое- динения 27
Продолжение табл. 2 Неисправность Вероятная причина Методы устранения В поле зрения прицела наблюдаются вспышки и мигания, гаснет све- чение экрана Не светится экран ЭОП, слышны щелчки работающего преобра- зователя Не слышны щелчки ра- ботающего преобразо- вателя В поле зрения прицела появились темные пят- на, мешающие наблю- дению При включении прице- ла наблюдается на краю поля зрения сер- повидное затемнение и изображение сетки смещено относительно центра экрана В прицел попал влаж- ный воздух Вышел из строя ЭОП Вышел из строя пре- образователь напряже- ния В поле зрения появи- лась осыпка или ЭОП испорчен засветкой то- чечными источниками света ЭОП засвечен сильным источником света Произвести продувку прицела сухим азотом или воздухом. Заменить осушитель Отправить прицел в ре- монтную мастерскую сое- динения Отправить прицел в ре- монтную мастерскую сое- динения Отправить прицел в ре- монтную мастерскую сое- динения Изображение сетки видно, но плохо (раз- мыто) Изображение «сворачи- вается» ЭОП засвечен сильны- ми источниками света То же Выключить прицел и че- рез 1 минуту засветить со стороны объектива любым источником света (например фонариком) в течение 1 минуты; вклю- чить прицел, если неис- правность не устранена, то отправить прицел в ремонтную мастерскую То же Выключить прицел и вы- держать его в таком сос- тоянии 30 минут, при этом на объектив прице- ла должна быть установ- лена диафрагма в поло- жении ЗАК.Р; включить прицел, если неисправ- ность не устранена, то отправить прицел в ре- монтную мастерскую 8. ПРАВИЛА ХРАНЕНИЯ И ТРАНСПОРТИРОВАНИЯ 8.1. Хранение На хранение в хранилище (склад) ставить только осмот- ренные, исправные, чистые прицелы. 28
Прицелы в хранилищах хранить в укладочных ящиках вместе с приложенными к ним одиночными комплектами ЗИП. Прицелы хранить в отапливаемых хранилищах, в которых в течение всего года температура воздуха должна быть от 4-1 °C до 4-40 °C, а относительная влажность воздуха не вы- ше 85%. Прицелы в ящиках укладочных размещать на стеллажах, полках или в шкафах. Хранение прицелов на полу, возле печей, у окон и на солн- це не допускается. Техническое обслуживание при хранении предназначается для выполнения профилактических мероприятий, обеспечи- вающих длительную сохранность прицела и устранение недо- статков, выявленных при осмотрах. Техническое обслуживание при хранении включает теку- щее обслуживание (ТеО) и техническое обслуживание 1 (ТО1). В хранилищах и на складах ТеО производится заведую- щим хранилищем с целью систематического ухода за воору- жением один раз в год, при этом проводятся следующие ра- боты: чистка наружных оптических поверхностей; включение прицела для непрерывной наработки в течение двух часов один раз в год. ТО1 при хранении проводится один раз в 2,5 года и вклю- чает в себя работы, предусмотренные для ТеО, кроме того, проверяется комплектность, правильность укладки, целост- ность линз, состояние контактов, наглазников и силикагеля. При обнаружении неисправностей, не устранимых с по- мощью одиночного комплекта ЗИП, прицел направить для ре- монта в мастерскую соединения. При казарменном расположении войск прицелы хранить в подразделении на специально оборудованных полках или в шкафах. При лагерном расположении войск прицелы хранить в специально отведенных помещениях. 8.2. Транспортирование Прицел вместе с ЗИП можно транспортировать в ящике укладочном любым видом транспорта и на любое расстояние. Перед транспортированием (перевозкой или переноской) необходимо убедиться в надежности закрепления прицела и ЗИП в укладочном ящике. 29
Все запоры укладочного ящика должны быть исправны. При транспортировании укладочный ящик необходимо на- дежно закреплять. Запрещается бросать и кантолзать укладоч- ный ящик с прицелом. Если прицелы перевозятся на повозках или автомашинах, то на дно повозки или кузова автомашины необходимо поло- жить сухую подстилку. Укладочные ящики с прицелами укла- дывать в переднюю часть кузова машины плотно один к дру- гому; при этом во избежание ударов ящиков один о другой положить между ними подстилку, после чего закрепить их рейками или увязать и укрыть брезентом. В случае крайней необходимости допускается транспорти- рование прицела, установленного на оружии, на автомобилях или бронетранспортерах, .при этом автомат или пулемет дер- жать между коленями отвесно. При передвижении на танках оружие и прицел держать в руках, оберегая от ударов о броню. Скорости транспортировки устанавливаются командиром пасти в зависимости от состояния дорог, времени года, суток. 9. НАЗНАЧЕНИЕ И ПРИМЕНЕНИЕ ОДИНОЧНОГО КОМПЛЕКТА ЗИП 9.1. Общие указания Неисправные узлы и детали прицела необходимо заменить исправными, имеющимися в одиночном комплекте ЗИП. Замена производится, как указано ниже. Остальные неис- правности устраняются в ремонтной мастерской соединения. 9.2. Замена источника питания Для замены источника питания необходимо: выключить прицел; вынуть источник питания (заряженную аккумуляторную батарею или контейнер с секцией 5РЦ83Х) из ЗИП и устано- вить в прицел. Секцию 5РЦ83Х устанавливать в контейнер, соблюдая полярность секции 4 (рис. 7) и корпуса 1. Полярность марки- рована знаком « + » на корпусе 1 и знаками « + » и «—» на секции 4. Перед установкой в корпус 1 секции 4 необходимо вывин- тить кольцо 5 ключом 5 (рис. 1), вынуть колпачки 2 (рис. 7) 30
и пружины 6; вынуть корпус 7 из корпуса 1 и установить сек- цию 4 в корпус 7, надев на нее с двух сторон пружины 6. Для этого необходимо: (вставить контакт 3 в один из пазов пружины 6; расположить пружины на расстоянии 1—2 мм от секции 4; вставить контакт 3 в другой паз пружины 6; прижать контакт 3 к пружине 6; прижать пружину 6 к секции 4; надеть на секцию с пружинами колпачки 2; установить секцию с колпачками, соблюдая полярность, в корпус 1 и закрепить с помощью ключа 5 (рис. 1) кольцом 5 (рис. 7), завинтив его до упора в торец корпуса 1. При необходимости замену вышедших из строя аккумуля- торов производить следующим образом: вывинтить ключом 5 (рис. 1) кольцо 1 (рис. 9) из кор- пуса 4; вынуть из корпуса 4 аккумуляторы 6 вместе с пружи- нами 3; заменить вышедшие из строя аккумуляторы 6 годными. Сборку производить в следующем порядке: установить в корпус 4 с установленными в нем проклад- кой 2, кольцом 5 и колпачком 7 аккумулятор 6, соблюдая по- лярность («—» аккумулятора должен быть обращен к кол- пачку 7); установить пружину 3 (буртиком к контакту «—» аккуму- лятора) ; установить таким же образом следующие три аккумулято- ра 6 с пружинами 3; установить пятый аккумулятор 6 с кольцом 1; завинтить ключом 5 (рис. 1) кольцо 1 (рис. 9) до упора в торец корпуса 4. 9.3. Замена осушителя Замену осушителя 9 (рис. 3) производить в сухом помеще- нии. Новый осушитель разрешается держать открытым не бо- лее 1—2 минуты. Для замены осушителя необходимо: подготовить запасной осушитель 8 (рис. 1), взятый из ЗИП, слегка вывинтив его из стакана; ключом 5 вывинтить из корпуса 3 (рис. 3) осушитель 9 с насыщенным силикагелем и сразу же ввинтить новый; осушитель ввинчивать до заметной деформации резиновой прокладки. 31
9.4. Замена наглазника Для замены наглазника 10 (рис. 3) необходимо: открыть с помощью ключа 5 (рис. 1) зажим; снять наглазник 10 (рис. 3) вместе с зажимом; взять из комплекта ЗИП наглазник 7 (рис. 1) и надеть на оправу окуляра, слегка растянув его. При этом наглазник 7 должен быть установлен так, чтобы линия соединения заслонок наглазника была расположена горизонтально при рабочем положении прицела. Надеть зажим на наглазник, закрыть его и повернуть про- тив часовой стрелки так, чтобы хвостовик защелки оказался за выступом осушителя. 9.5. Замена шкалы 9.5.1. Для замены шкалы 12 (рис. 3) АКМ на шкалы РПК, ПК, СВД, АК-74, РПК-74 необходимо: установить деление «3» шкалы АКМ против указателя на корпусе; вывинтить ключом 5 (рис. 1) винты 18 (рис. 3), не вращая маховичок 17; снять маховичок 17; снять шкалу 12; установить нужную шкалу с оцифровкой против указателя на корпусе: «4» для шкал РПК и ПК; «5» для шкал СВД, АК-74 и РПК-74; установить маховичок 17 и завинтить винты 18, не вращая маховичок; после установки шкалы ПК ослабить на 1—2 оборота винты 18 и маховичок 17 повернуть на 6 делений вверх, при этом шкалу 12 придерживать рукой, не давая ей переме- щаться; завинтить винты 18, не вращая маховичок. Привести к нормальному бою оружие с прицелом в соот- ветствии с подпунктом 3.1 раздела 3. 9.5.2. Для замены шкалы 12 (рис. 3) РПК на шкалы АКМ, ПК, СВД, АК-74 и РПК-74 необходимо: установить деление «4» шкалы РПК против указателя на корпусе; вывинтить ключом 5 (рис. 1) винты 18 (рис. 3), не вращая маховичок 17; 32
снять маховичок 17; снять шкалу 12; установить нужную шкалу с оцифровкой против указателя на корпусе: «3» — для шкалы АКМ; «4» — для шкалы ПК; «5» — для шкал СВД, АК-74; «6» — для шкалы РПК-74; установить маховичок 17 и завинтить винты 18, не вращая маховичок; после установки шкалы ПК ослабить на 1 — 2 оборота винты 18 и маховичок 17 повернуть на 5 делений вверх, при этом шкалу 12 придерживать рукой, не давая ей переме- щаться; завинтить винты 18, не вращая маховичок. Привести к нормальному бою оружие с прицелом в соот- ветствии с подпунктом 3.1 раздела 3. 9.5.3. Для замены шкалы 12 (рис. 3) ПК на шкалы АКМ, •СВД, АК-74 и РПК-74 необходимо: установить шкалу ПК на деление «4»; ослабить на 1—2 оборота ключом 5 (рис. 1) винты 18 и маховичок 17 повернуть на 6 делений вниз, при этом шкалу придерживать рукой, не давая ей перемещаться; вывинтить винты 18 (рис. 3), не вращая маховичок 17; снять маховичок 17; снять шкалу 12; установить нужную шкалу с оцифровкой! против указате- ля на корпусе: «3» —для шкал АКМ, РПК; «4» —для шкалы СВД; «5» — для шкал АК-74 и РПК-74; установить маховичок 17 и завинтить винты 18, не вращая маховичок. Привести к нормальному бою оружие с прицелом в соот- ветствии с подпунктом 3.1 раздела 3. 9.5.4. Для замены шкалы 12 (рис. 3) СВД на шкалы АКМ, РПК, ПК, АК-74 и РПК-74 необходимо: установить деление «5» шкалы СВД против указателя на корпусе; вывинтить ключом 5 (рис. 1) винты 18 (рис. 3), не вращая маховичок 17; снять маховичок 17; снять шкалу 12; 33
установить нужную шкалу с оцифровкой против указателя на корпусе: «3» — для шкалы АКМ; «4» — для шкал РПК и ПК; «5» — для шкалы АК-74; «6» — для шкалы РПК-74; установить маховичок 17 и завинтить винты 18, не вращая маховичок; после установки шкалы ПК ослабить па 1—2 оборота винты 18 и маховичок 17 повернуть на 4 деления вверх, при этом шкалу 12 придерживать рукой, не давая ей переме- щаться; завинтить винты 18, не вращая маховичок. Привести к нормальному бою оружие с прицелом в соот- ветствии с подпунктом 3.1 раздела 3. 9.5.5. Для замены шкалы 12 (рис. 3) АК-74 на шкалы АКМ, РПК, ПК, СВД и РПК-74 необходимо: установить деление «5» шкалы АК-74 против указателя на корпусе; вывинтить ключом 5 (рис. 1) винты 18 (рис. 3), не вращая маховичок 17; снять маховичок 17; снять шкалу 12; установить нужную шкалу с оцифровкой против указателя на корпусе: «3» — для шкалы АКМ; «4» — для шкал РПК и ПК; «5» — для шкал СВД и РПК-74; установить маховичок 17 и завинтить винты 18, не вращая маховичок; после установки шкалы ПК ослабить па 1 — 2 оборота винты 18 и маховичок 17 повернуть на 5 делений вверх, при этом шкалу 12 придерживать рукой, не давая ей переме- щаться; завинтить винты 18, не вращая маховичок. Привести к нормальному бою оружие с прицелом в соот- ветствии с подпунктом 3.1 раздела 3. 9.5.6. Для замены шкалы 12 (рис. 3) РПК-74 па шкалы АКМ, РПК, ПК, СВД и АК-74 необходимо: установить деление «5» шкалы РПК-74 против указателя на корпусе; вывинтить ключом 5 (рис. 1) винты 18 (рис. 3), не вращая маховичок 17; 34
снять маховичок 17; снять шкалу 12; установить нужную шкалу с оцифровкой против указателя на корпусе: «3» —для шкал АКМ, РПК и ПК; «4» — для шкал СВД и АК-74; установить маховичок 17 и завинтить винты 18, не вращая маховичок; после установки шкалы ПК ослабить на 1—2 оборота винты 18 и маховичок 17 повернуть на 6 делений вверх, при этом шкалу 12 придерживать рукой, не давая ей переме- щаться. Привести к нормальному бою оружие с прицелом в соот- ветствии с подпунктом 3.1 раздела 3. 9.6. Замена светодиода Для замены светодиода необходимо: вывинтить винт стопорный, крепящий светодиод 2; вывинтить светодиод 2; взять из комплекта ЗИП светодиод 15 в стакане (рис. 1) и вывинтить светодиод из стакана; ввинтить светодиод из ЗИП вместо вышедшего из строя; ввинтить винт стопорный.
Приложение I НОРМЫ расхода материалов на одно обслуживание Наименование материала Расход при ТО1 Смазка пластичная ГОИ-54п ГОСТ 3276—74, г 5 Фланель отбеленная гладкокрашенная любого цвета № 1 ГОСТ 7259—77, мм 200X200 Вата хлопчатобумажная для оптической промышленности ГОСТ 10477—75, г 20 Спирт этиловый ректификованный технический ГОСТ 18300—72, г 15 Эфир петролейный ГОСТ 11992—74, г 30 Примечание. Нормы расхода материалов для ТО2 даны в инструкции по использованию группового комплекта ЗИП АЛЗ.812.106 ТО, приложе- ние 3. 36
Приложение 2 РИСУНКИ
I Рис. 1. Комплект прицела: I — прицел АЛЗ.812.106; 2 — укладочный ящик АЛ4.103.034; 3 — футляр АЛ6.875.042; 4—секция 5РЦ83Х ФШО.351.929 ТУ; 5—ключ АЛ8.896.009; 6—салфетка АЛ8.890.001-01; 7 —наглазник АЛ6.548.035; 8 —осушитель в стакане АЛ5.883.030; 9 —контейнер АЛ6.086.000; 10 —ремень АЛ6.834.042; 11 —батарея аккумуляторная АЛ5.529.011; 12 — шкала АЛ7.025.078, АЛ7.025.078-01, АЛ7.025.078-02, АЛ7.025.078-03, АЛ7.025.078-04, АЛ7.025.078-05, АЛ7.025.078-06 (одна из шкал установлена в прицеле); 13 —сумка АЛ4.165.005; 14 —диафрагма АЛ 6.274.029; 15 —светодиод в стакане АЛ5.142.396
Рис. 2. Схема функциональная
Рис. 3, Внешний вид прицела
Рис. 4. Укладка прицела
0-02 Рис. 5. Вид поля зрения
тнг Рис. 6. Мишень выверочная
Рис. 7. Контейнер с секцией 5РЦ83Х
Средний/понк высотой 2,7л/ "JU11 41 | I 111AJ11 41 | I I I IAI I I 41 г Ьегущоя фигура высотой /,5м I I IAI I I I I 1Л1 I I I I IAI I I И lAlil I I I lAtl I I 41 | I 4 1 1 41 | 13 41 | I 41 I I / Д--325м 2 ДтООм З.Д--500м У.ДЗОО» 5Д--375» Б.ДДООк 7Д--75С5, 8Д--971Д Поясная фигура Высотой /м ГоноВиоя фигура Высотой 0,3м. I I IAI 1.1 I I IAI I I I I IAI I I I I IAI ® I I 1/3 I I 41 | I 41 |*1 41 | 18 4l N 41 | I |® I I I ь 9.Д=200м /О.Д=25О* /7.Д-ЗЗЗм 722^500^ 73ДД^„ Грудная сригура Высотой ОДн I I IAI I I I I IAI I I I I IAI I I II IA® I I I1/2 I I 41 I I 41 |*1 41 I I® 4! | I 41 I I ® х I I I I I I IAI I I II 1Л®| I I I 1/81 11 4l I 10 4l I I 41 I I 72ДЫООм /5Д350» /6Д--/9Р» 17. & 100м 18. Д; /25„ 79. Д^ /07^ 20Д=250„ 27 Д^323м Рис. 8. Пример определения расстояния с помощью сетки
5 6 7 Рис. 9. Батарея аккумуляторная
П/w Пж Ри-с. 10. Схема электрическая принципиальная
ПЕРЕЧЕНЬ ЭЛЕМЕНТОВ СХЕМЫ ЭЛЕКТРИЧЕСКОЙ Поз. обозн Наименование Кол. Примечание Поз. обозн. Наименование i 1 Т7 f Кол. Примечание R1 R2 R3 R4* R5 R6 R7 1 R8 R9 R10 R11 R12 R13 R14 R15 R16 R17* Резисторы СП4- 1А-47 кОм А-12 ОЖО.468.045 ТУ Фоторезистор ФПФ-74 ОС4.681.060 ТУ ОМЛТ-ОД25-В-ЮО кОм±Ю% ОЖ0.467.Ю7 ТУ ОМЛТ-0Д25-В-470 Ом±Ю°/о ОЖ0.467.Ю7 ТУ ОМЛТ-0Д25-В-20 кОм±Ю% ОЖ0.467.Ю7 ТУ СПЗ-19а-0,5-100м±10°/о ОЖО.468.134 ТУ ОМЛТ-ОД25-В-3 кОм±Ю°/о ОЖ0.467.Ю7 ТУ ОМЛТ-0Д25-В-20 кОм±Ю% ОЖ0.467. Ю7 ТУ ОМЛТ-0Д25-В-750 кОм±Ю% ОЖ0.467.Ю7 ТУ ОМЛТ-ОД25-В-15 кОм±Ю% ОЖ0.467.Ю7 ТУ ОМЛТ-0Д25-В-20 кОм±Ю% ОЖ0.467.Ю7 ТУ КЭВ-0,5-5,1 ГОм±Ю% ОЖО.467.077 ТУ КИМ-Е-200 МОм±10% ОЖО.467.027 ТУ КИМ-Е-22 МОм±Ю°/о ОЖО.467.027 ТУ КЭВ-0,5-1,5 ГОм±Ю% ОЖО.467.077 ТУ ОМЛТ-ОД25-В-1 кОм+10% ОЖ0.467.Ю7 ТУ ОМЛТ-ОД25-В-47 кОм±Ю% ОЖ0.467.Ю7 ТУ 1 1 1 1 1 1 1 1 1 1 1 1 1 1 1 1 1 470 Ом, 680 Ом 47, 68, 82 кОм С7...С36 Б1...Б5 В1 Д1...ДЗ Д4 Д5 Д6 Д7 Д8...Д37 Л Tl, Т2 ТЗ Т4 Т5 Тб Тр1 ПЛ Ш2 К15-15-3 кВ-1000 пФ±20°/о ОЖ0.460.170 ТУ Аккумулятор Д-0.55С • ’ ГОСТ 11258-79 Микропереключатель МП7 ОЮ0.360.007 ТУ Диод 2Д102А ТТЗ.362.074 ТУ Светодиод АЛ307Б aA0.336.076 ТУ Стабилитрон 2С147А СМ3.362.805 ТУ Стабистор 2С119А СМ3.362.816ТУ Диод 2Д102А ТТ3.362.074 ТУ Столб выпрямительный 2Ц1ЫА-1 aA0.339.008 ТУ Преобразователь электронно- оптический ОДО.335.221 ТУ Транзистор 2Т312В ЖКЗ.365.143 ТУ Транзистор 2Т603Б И93.365.003 ТУ Транзистор 2П103А ТФ3.365.000 ТУ Транзистор 2Т603Б И93.365.003 ТУ Транзистор 1Т403Б СИ3.365.023 ТУ Трансформатор ТВ 10-1 ОЮО.471.043 ТУ Вилка РШ2Н-1-5 ОЮ0.364.002 ТУ Розетка РГ1Н-1-1 ОЮ0.364.002 ТУ 30 5 1 3 1 1 1 1 30 1 2 1 1 1 1 1 1 1 Конденсаторы Cl, С2 СЗ, С4 С5, С6 К53-4-15-68+20 % ОЖО.464.037 ТУ К53-4-6-100±20% ОЖО.464.037 ТУ К53-4-15-1,5±20% 2 2 * Подбирают при регулировании. ОЖО.464.037 ТУ 2
1 Изменение —— измененных Номера листов (страниц) замененных новых аннулиро- ванных Воего листов (страниц) в докум. № документа Входящий № со- проводительного документа и дата Подпись Дата ЛИСТ РЕГИСТРАЦИИ ИЗМЕНЕНИЙ
СОДЕРЖАНИЕ Часть I ТЕХНИЧЕСКОЕ ОПИСАНИЕ Стр. 1. Введение......................................... 3 2. Назначение ...................................... 3 3. Технические данные............................... 4 4. Состав прицела................................... 5 5. Устройство и работа прицела...................... 6 5.1. Функциональная схема........................ 6 5.2. Устройство прицела.......................... 7 6. Сменные и запасные части......................... 9 7. Инструмент и принадлежности...................... 9 8. Размещение и монтаж............................ 10 9. Маркирование.....................................10 10. Тара и упаковка ................................10 Часть II ИНСТРУКЦИЯ ПО ЭКСПЛУАТАЦИИ 1. Общие указания...................................11 2. Указания мер безопасности........................12 3. Подготовка к работе..............................12 3.1. Приведение прицела к нормальному бою и вы- верка прицела на автоматах, пулеметах и снай- перской винтовке.............................12 3.2. Выверка прицела на гранатомете............15 3.3. Приведение прицела в походное положение . . 17 3.4. Приведение прицела в боевое положение . . 18 4. Порядок работы...................................18 4.1. Общие указания............................18 4.2. Определение расстояний с помощью прицела 21
4.3. Приведение прицела из боевого положения в походное................................22 4.4. Приведение прицела из походного положения в положение для транспортирования .... 22 5. Технический осмотр.........................22 >6. Техническое обслуживание прицела..........23 6.1. Общие указания........................23 6.2. Текущее обслуживание..................24 6.3. Техническое обслуживание 1........24 6.4. Техническое обслуживание 2........25 7. Характерные неисправности и методы их устранения 27 7.1. Общие указания........................27 7.2. Перечень неисправностей и методы их устранения 27 -8. Правила хранения и транспортирования .... 28 8.1. Хранение.......................................28 8.2. Транспортирование..............................29 9. Назначение и применение одиночного комплекта ЗИП 30 9.1. Общие указания.................................30 9.2. Замена источника питания.......................30 9.3. Замена осушителя...............................31 9.4. Замена наглазника..............................32 9.5. Замена шкалы...................................32 9.6. Замена светодиода .............................35 Приложения. 1. Нормы расхода материалов на одно об- служивание ......................................36 2. Рисунки 37 3. Инструкция по использованию группово- го комплекта ЗИП (поставляется с групповым комплектом ЗИП). Зак.
- Главная
- О нас
- Оплата и доставка
- Инструкции
- Акции
- Контакты
- Личный кабинет
Более 30 лет вместе!
Официальный интернет-магазин ООО «Параавис»
Все необходимое для воздушного экстрима!
- Главная
- Инструкции
Цены на сайте не являются публичной офертой
-
Make offer
Breathe easy.
Returns accepted.
Does not ship to Russian Federation
.
Located in: Tbilisi, Georgia
14 days returns
.
Buyer pays for return shipping. If you use an eBay shipping label, it will be deducted from your refund amount
.
Shop with confidence
eBay Money Back Guarantee
Seller assumes all responsibility for this listing.
eBay item number:
324364743736
Item specifics
Item description from the seller
para
100% positive feedback•383 items sold
Usually responds within 24 hours
Detailed seller ratings
Average for the last 12 months
Reasonable shipping cost
4.5
Seller feedback (143)
-
e***j (130)
— Feedback left by buyer.
Verified purchase
Shipping was good packaging was definitely on point and it was better than described basically new communication was very good and value of the item was great absolutely recommend this seller A++++++
L&B ARES II Skydiving Altimeter (#326427166055)
-
n***a (384)
— Feedback left by buyer.
Verified purchase
Good transaction although the location description said it was in New York when in fact it was located in another country.
Flytec Element GPS Variometer for Paragliding (#326255223201)
-
n***d (389)
— Feedback left by buyer.
Verified purchase
Variometer Brauniger Alto Vario Basis SP (#326252783425)
-
a***4 (30)
— Feedback left by buyer.
Verified purchase
Skydiving Altimeter Altimaster Galaxy Alti-2 Glow Face (#326324389638)
-
1***y (610)
— Feedback left by buyer.
Verified purchase
Hang Gliding Bracket For Variometers Hang Glider Instruments (#326118665460)
-
-***s (384)
— Feedback left by buyer.
Verified purchase
All perfect! Very Good seller! Thanks for all!
Z1 SL-14 Skydiving Helmet Size M & Pro Dytter (#326147871604)
-
1***1 (920)
— Feedback left by buyer.
Verified purchase
Skydiving FF Suit TONFLY Uno 630 (#326168226120)
See all feedback
More to explore :
- Parachute Militaria (1976-1989),
- 1989 Arcade Gaming Manuals & Guides,
- Parachute Harness Collectible Military Surplus Parachutes,
- Parachute Reproduction Militaria (1976-1989),
- Parachute Military Original Period Items (1976-1989),
- USSR Medal,
- Collectible Firefighting & Rescue Helmets,
- Collectible Firefighting & Rescue Lights,
- Collectible Firefighting & Rescue Extinguishers,
- Other Firefighting & Rescue Collectibles
Related Searches
- Russian Parachute
- National Parachute
- Pilot Parachute
- Parachute Survival Kit
- Training Parachute
- Parachute Patch
- Parachute Patches
- Pararescue Book
- Parachute Home
- Parachute Team
- Parachute Covers
- Parachute Used
- Us Air Force Parachute
- Navy Parachute
- Parachute Infantry
Купол такой же как и на С-5И, С-5К, ПСУ-36 не управляемый. состоит из 8-ми клиньев 4 крест на крест расшиты до нижней кромки, 4 до средины, образуют щели для уменьшения динамических нагрузок в момент раскрытия. Площадь 60 кв.м. Стропы 6м. Мин. высота применения с немедленным введением на скоростях 225 и более (до 600)Км/ч — 80 м. Вертикальная скорость снижения при полетном весе 130 кг — не более 6 м/с. Система введения в действие похожа на Д-1-5У. ШВП и укороченый чехол который после выполнения своих функций улетает вместе с шариком.
Уточнюсь! Это ПНЛ-86, а на ПНЛ-58 купол как на ПН-58, С-4 управляемый. На сегодняшний день знаю что ими комплектуются рабочие места штурмана, радиста и борттехника на Бе-12, за другие типы не скажу не встречал.
Можно на штатную подвеску скобы крепления ЗП поставить
Можно конечно но с дополнительной подвесной ИМХО, надежнее и быстрее.
